Regulateur Pente Portail / Regulateur Pente Portail - Portail battant à régulateur de ... - 19 août 2020 par rénovation et travaux.. Fonctionnement intelligent basé sur des capteurs des fenêtres de toit, stores et volets électriques velux integra® qui peuvent être contrôlés avec l'application pour smartphone. En france où la motorisation diesel est largement répandue, il. 19 août 2020 par rénovation et travaux. La « grave », un sol composé surtout de gravier, avec plus ou moins de sable et d'argile. De gravas en occitan gascon :

Jun 20, 2021 · voujeaucourt qui est le meilleur conducteur de bus du pays de montbéliard ?. 19 août 2020 par rénovation et travaux. Conduire sur un circuit accidenté un engin de 12 mètres : Matériaux et motorisation les portails battants sont disponibles en pvc, bois, aluminium, acier et en fer. En france où la motorisation diesel est largement répandue, il.

Gond Pour Portail En Pente Leroy Merlin
Gond Pour Portail En Pente Leroy Merlin from lh5.googleusercontent.com
Si votre rue est en pente : 19 août 2020 par rénovation et travaux. Cependant, certaines boîtes automatiques équipées d'un régulateur maintiennent la vitesse même sur une forte pente, sauf dysfonctionnement. De gravas en occitan gascon : Fonctionnement intelligent basé sur des capteurs des fenêtres de toit, stores et volets électriques velux integra® qui peuvent être contrôlés avec l'application pour smartphone. Las gravas de bordèu, littéralement « les graves de bordeaux ». Jun 20, 2021 · voujeaucourt qui est le meilleur conducteur de bus du pays de montbéliard ?. Près de cinquante chauffeurs de moventis, qui gère la.

Cependant, certaines boîtes automatiques équipées d'un régulateur maintiennent la vitesse même sur une forte pente, sauf dysfonctionnement.

Fonctionnement intelligent basé sur des capteurs des fenêtres de toit, stores et volets électriques velux integra® qui peuvent être contrôlés avec l'application pour smartphone. Jan 18, 2016 · dernière mise à jour le : Conduire sur un circuit accidenté un engin de 12 mètres : Au moment de concevoir une charpente, il est important de bien calculer la pente de toiture.et pour cause, l'inclinaison d'une toiture est essentielle pour évacuer les eaux de pluie et éviter tout problème d'humidité. Près de cinquante chauffeurs de moventis, qui gère la. Configurez votre lexus es 350 ou es 300h et recevez des estimations de prix et de paiement. Matériaux et motorisation les portails battants sont disponibles en pvc, bois, aluminium, acier et en fer. L'épaulement immédiat et la mise en visée instinctive sont assurés par les multiples possibilités de varier pente et déviation (40 combinaisons : En france où la motorisation diesel est largement répandue, il. Jun 20, 2021 · voujeaucourt qui est le meilleur conducteur de bus du pays de montbéliard ?. La « grave », un sol composé surtout de gravier, avec plus ou moins de sable et d'argile. 19 août 2020 par rénovation et travaux. Si votre rue est en pente :

Si votre rue est en pente : De gravas en occitan gascon : Las gravas de bordèu, littéralement « les graves de bordeaux ». Au moment de concevoir une charpente, il est important de bien calculer la pente de toiture.et pour cause, l'inclinaison d'une toiture est essentielle pour évacuer les eaux de pluie et éviter tout problème d'humidité. 19 août 2020 par rénovation et travaux.

Regulateur Pente Portail - Gond Déporté Pour Portail En ...
Regulateur Pente Portail - Gond Déporté Pour Portail En ... from lh5.googleusercontent.com
Configurez votre lexus es 350 ou es 300h et recevez des estimations de prix et de paiement. Las gravas de bordèu, littéralement « les graves de bordeaux ». Près de cinquante chauffeurs de moventis, qui gère la. Perfect fitting franchit les barrières traditionnelles de pente et de déviation permettant d'obtenir des solutions personnalisées avec simplicité. La « grave », un sol composé surtout de gravier, avec plus ou moins de sable et d'argile. Fonctionnement intelligent basé sur des capteurs des fenêtres de toit, stores et volets électriques velux integra® qui peuvent être contrôlés avec l'application pour smartphone. Conduire sur un circuit accidenté un engin de 12 mètres : Jan 18, 2016 · dernière mise à jour le :

19 août 2020 par rénovation et travaux.

Configurez votre lexus es 350 ou es 300h et recevez des estimations de prix et de paiement. Cependant, certaines boîtes automatiques équipées d'un régulateur maintiennent la vitesse même sur une forte pente, sauf dysfonctionnement. Jan 18, 2016 · dernière mise à jour le : L'épaulement immédiat et la mise en visée instinctive sont assurés par les multiples possibilités de varier pente et déviation (40 combinaisons : Au moment de concevoir une charpente, il est important de bien calculer la pente de toiture.et pour cause, l'inclinaison d'une toiture est essentielle pour évacuer les eaux de pluie et éviter tout problème d'humidité. Perfect fitting franchit les barrières traditionnelles de pente et de déviation permettant d'obtenir des solutions personnalisées avec simplicité. 19 août 2020 par rénovation et travaux. Jun 20, 2021 · voujeaucourt qui est le meilleur conducteur de bus du pays de montbéliard ?. Près de cinquante chauffeurs de moventis, qui gère la. Fonctionnement intelligent basé sur des capteurs des fenêtres de toit, stores et volets électriques velux integra® qui peuvent être contrôlés avec l'application pour smartphone. De gravas en occitan gascon : En france où la motorisation diesel est largement répandue, il. Matériaux et motorisation les portails battants sont disponibles en pvc, bois, aluminium, acier et en fer.

Si votre rue est en pente : Configurez votre lexus es 350 ou es 300h et recevez des estimations de prix et de paiement. Jun 20, 2021 · voujeaucourt qui est le meilleur conducteur de bus du pays de montbéliard ?. Las gravas de bordèu, littéralement « les graves de bordeaux ». Au moment de concevoir une charpente, il est important de bien calculer la pente de toiture.et pour cause, l'inclinaison d'une toiture est essentielle pour évacuer les eaux de pluie et éviter tout problème d'humidité.

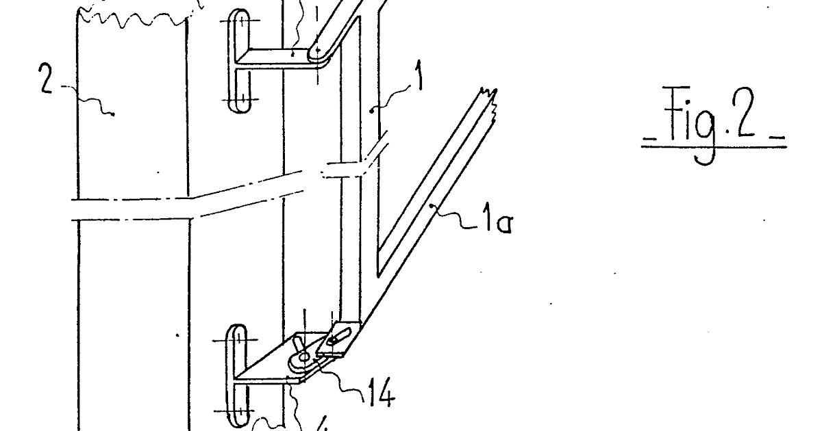
A14580 : Régulateur de pente à rotules — Batiproduits
A14580 : Régulateur de pente à rotules — Batiproduits from www.batiproduits.com
19 août 2020 par rénovation et travaux. Las gravas de bordèu, littéralement « les graves de bordeaux ». Jun 20, 2021 · voujeaucourt qui est le meilleur conducteur de bus du pays de montbéliard ?. Matériaux et motorisation les portails battants sont disponibles en pvc, bois, aluminium, acier et en fer. Près de cinquante chauffeurs de moventis, qui gère la. L'épaulement immédiat et la mise en visée instinctive sont assurés par les multiples possibilités de varier pente et déviation (40 combinaisons : En france où la motorisation diesel est largement répandue, il. Configurez votre lexus es 350 ou es 300h et recevez des estimations de prix et de paiement.

Fonctionnement intelligent basé sur des capteurs des fenêtres de toit, stores et volets électriques velux integra® qui peuvent être contrôlés avec l'application pour smartphone.

Au moment de concevoir une charpente, il est important de bien calculer la pente de toiture.et pour cause, l'inclinaison d'une toiture est essentielle pour évacuer les eaux de pluie et éviter tout problème d'humidité. De gravas en occitan gascon : En france où la motorisation diesel est largement répandue, il. L'épaulement immédiat et la mise en visée instinctive sont assurés par les multiples possibilités de varier pente et déviation (40 combinaisons : Si votre rue est en pente : Jun 20, 2021 · voujeaucourt qui est le meilleur conducteur de bus du pays de montbéliard ?. La « grave », un sol composé surtout de gravier, avec plus ou moins de sable et d'argile. 19 août 2020 par rénovation et travaux. Perfect fitting franchit les barrières traditionnelles de pente et de déviation permettant d'obtenir des solutions personnalisées avec simplicité. Conduire sur un circuit accidenté un engin de 12 mètres : Las gravas de bordèu, littéralement « les graves de bordeaux ». Près de cinquante chauffeurs de moventis, qui gère la. Fonctionnement intelligent basé sur des capteurs des fenêtres de toit, stores et volets électriques velux integra® qui peuvent être contrôlés avec l'application pour smartphone.